您当前的位置:成果库 > 一种具有三凹陷结构的场效应晶体管及其制备方法
基本信息
- 成果类型 高等院校
- 委托机构 西安电子科技大学
- 成果持有方 西安电子科技大学
- 行业领域 电子元器件
- 项目名称 一种具有三凹陷结构的场效应晶体管及其制备方法
- 知识产权 发明专利
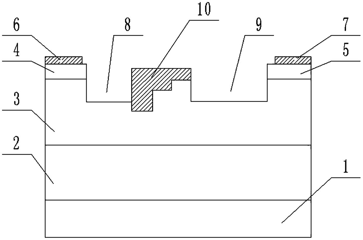
- 项目简介 本发明属于场效应晶体管技术领域,特别是公开了一种具有三凹陷结构的场效应晶体管及其制备方法;旨在提供一种具有宽沟道深凹陷且能够提高输出电流和击穿电压,改善频率特性的一种具有三凹陷结构的场效应晶体管及其制备方法;采用的技术方案为:自上而下设置有4H‑SiC半绝缘衬底、P型缓冲层、N型沟道层,N型沟道层的两侧分别设置有源极帽层和漏极帽层,所述源极帽层和漏极帽层的表面分别设置有源电极和漏电极,N型沟道层中部且靠近源极帽层的一侧设置有阶梯状的栅电极,栅电极和N型沟道层两侧形成左侧沟道和右侧沟道。
-
交易信息
- 意向交易额 面议
- 挂牌时间 2017/11/07
- 委托机构 西安电子科技大学
- 联系人姓名 王小刚
- 联系人电话 15802954800
- 联系人邮箱 745490733@qq.com
- 分享至:


391
2018/09/01
咨询成果
发布成果