您当前的位置:成果库 > 一种基于磁流变阻尼器的组合减振器
基本信息
- 成果类型 高等院校
- 委托机构 西安电子科技大学
- 成果持有方 西安电子科技大学
- 行业领域 电子元器件
- 项目名称 一种基于磁流变阻尼器的组合减振器
- 知识产权 发明专利
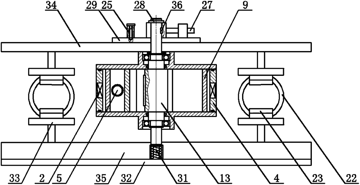
- 项目简介 本发明公开了一种基于磁流变阻尼器的组合减振器,其包括钢丝绳减振器、上下夹板、磁流变阻尼器、金属弹簧、可调限位装置。磁流变阻尼器的下端安装一个金属弹簧,磁流变阻尼器包括内设容腔的缸体、转轴、腔内架、限位弹簧、电磁线圈,限位装置包括圆形限位盘、圆弧形卡条、限位柱。本发明可承受垂直、扭转振动载荷,并具有限制转动角度大小功能。当受到不同的振动载荷时,其不同部位工作。且可以安装若干电磁线圈,保证在不增加阻尼器外形尺寸、励磁电流的前提下,大大提高阻尼力,能够在扭转角度有限的情况下,输出很大的转矩,能够满足高速冲击和低速振动控制系统的要求,以适应车载天线雷达、机载座椅、车载悬架等扭转角度不大的场合。
-
交易信息
- 意向交易额 面议
- 挂牌时间 2017/11/10
- 委托机构 西安电子科技大学
- 联系人姓名 王小刚
- 联系人电话 15802954800
- 联系人邮箱 745490733@qq.com
- 分享至:


367
2018/09/01
咨询成果
发布成果