您当前的位置:成果库 > 具有块状沟槽和埋层的浮动结碳化硅SBD器件
基本信息
- 成果类型 高等院校
- 委托机构 西安电子科技大学
- 成果持有方 西安电子科技大学
- 行业领域 微电子
- 项目名称 具有块状沟槽和埋层的浮动结碳化硅SBD器件
- 知识产权 发明专利
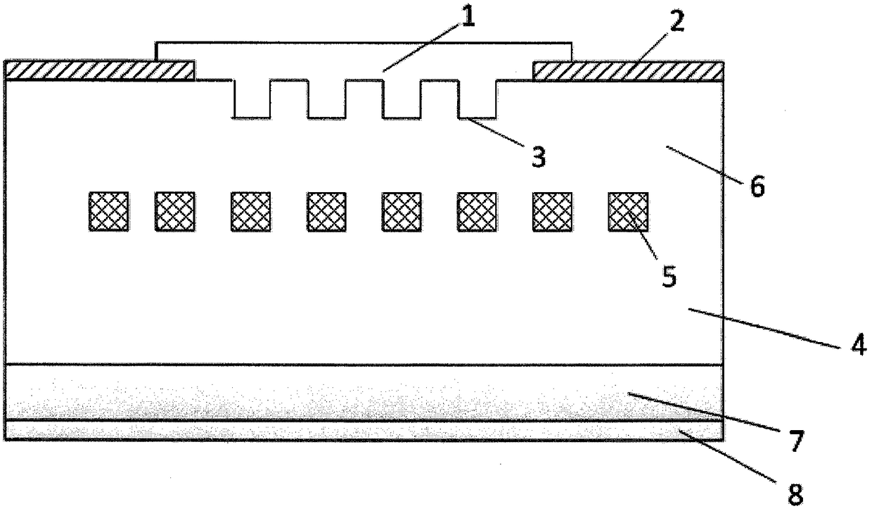
- 项目简介 本发明涉及一种具有块状沟槽和埋层的浮动结碳化硅SBD器件,其特征在于,其包括金属、SiO2隔离介质、沟槽、一次N‑外延层、P+离子注入区、二次N‑外延层、N+衬底区和欧姆接触区,所述P+离子注入区处于二次N‑外延层的表面,沟槽与P+离子注入区上下对齐,形状相同,或者与P+离子注入区上下对齐,形状相同,浮动结采用圆形、六棱形或方形的块状埋层。本发明具有块状沟槽和埋层的浮动结碳化硅SBD器件,该器件既有沟槽式碳化硅SBD肖特基接触面积大,正向导通电流大的优点,又有浮动结碳化硅SBD击穿电压大的优点。
-
交易信息
- 意向交易额 面议
- 挂牌时间 2017/12/01
- 委托机构 西安电子科技大学
- 联系人姓名 王小刚
- 联系人电话 15802954800
- 联系人邮箱 745490733@qq.com
- 分享至:


476
2018/08/27
咨询成果
发布成果