您当前的位置:成果库 > 一种云平台下的资源监控方法
基本信息
- 成果类型 高等院校
- 委托机构 西安电子科技大学
- 成果持有方 西安电子科技大学
- 行业领域 服务提供
- 项目名称 一种云平台下的资源监控方法
- 知识产权 发明专利
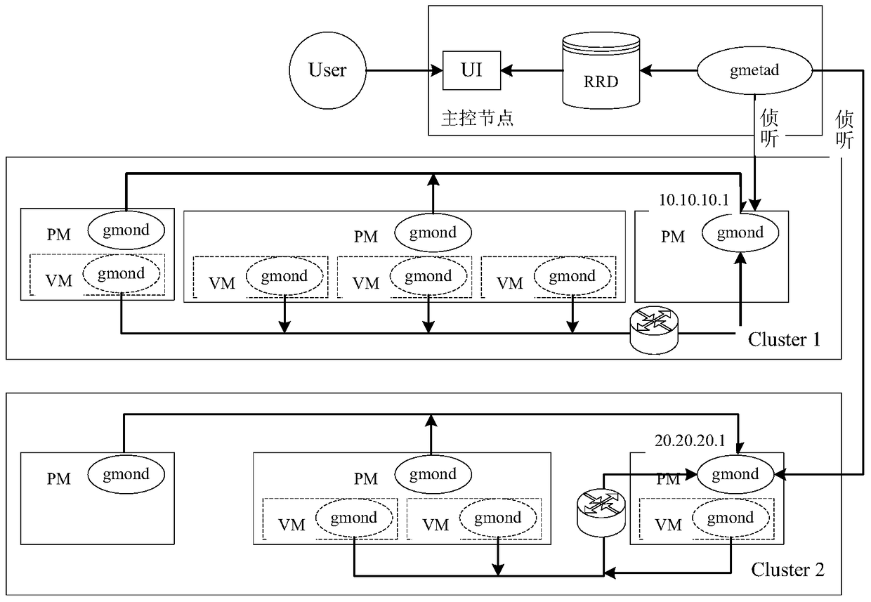
- 项目简介 本发明公开了一种云平台下的资源监控方法,安装和配置云平台下的监控模块、虚拟机监控系统的部署以及各守护进程之间的相应工作对资源进行监控,采用单发和单收参数的使得一些部署有监控模块的节点可以充当其他节点的专用汇聚器和中继器,避免了系统中存在无意义或者重复劳动的模块。本发明“单发”节点的使用消除了大型集群的运行开销,可以有效降低系统中的CPU利用率。同时,“单收”节点帮助避免了网络交互的繁忙,使网络更加合理和通畅。最后,主控端用RRD文件来存储数据,RRD文件可以用来存储更长时间的数据,有更好的可扩展性。
-
交易信息
- 意向交易额 面议
- 挂牌时间 2017/12/26
- 委托机构 西安电子科技大学
- 联系人姓名 王小刚
- 联系人电话 15802954800
- 联系人邮箱 745490733@qq.com
- 分享至:


464
2018/08/23
咨询成果
发布成果