您当前的位置:成果库 > 一种全柔顺五杆机构的三稳态实现方法
基本信息
- 成果类型 高等院校
- 委托机构 西安电子科技大学
- 成果持有方 西安电子科技大学
- 行业领域 电子元器件
- 项目名称 一种全柔顺五杆机构的三稳态实现方法
- 知识产权 发明专利
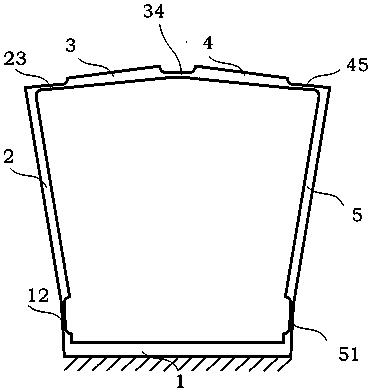
- 项目简介 本发明涉及一种全柔顺五杆机构的三稳态实现方法,其特征是:本发明一种全柔顺五杆机构的三稳态实现方法,至少包括:机架、主动杆、左连杆、右连杆、连架杆,及左下柔性铰链、左上柔性铰链、上柔性铰链、右上柔性铰链和右下柔性铰链;机架和主动杆以左下柔性铰链连接,主动杆和左连杆以左上柔性铰链连接,左连杆和右连杆以上柔性铰链连接,右连杆与连架杆以右上柔性铰链连接,连架杆与机架以右下柔性铰链连接。该全柔顺五杆三稳态机构结构简单、造价低廉、无摩擦、无磨损,可单片式加工,定位精确,可用于精密定位平台、多路光开关等设备中。
-
交易信息
- 意向交易额 面议
- 挂牌时间 2018/04/17
- 委托机构 西安电子科技大学
- 联系人姓名 王小刚
- 联系人电话 15802954800
- 联系人邮箱 745490733@qq.com
- 分享至:


842
2018/08/08
咨询成果
发布成果